General Servicing

Series III Electrics

40 amp generator

[Previous] [Index] [Next]

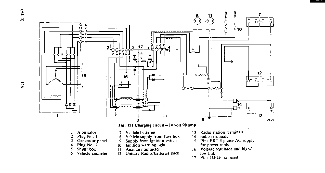
"Wiring Diagram, 2.25l petrol model, Series III 24 volt, 90 amp generator"




Copyright OVLR 1994-99. Original authors hold the copyright for their documents. Last modified 7 March 2001.
Comments? Send mail to Dixon Kenner or Benjamin Smith